有效做好每一個場景的管理規范,能夠在很大程度上提升企業的經營效率,并降低運營風險。那么,在賦能快消品行業企業場景數字化管理方面,管家婆財貿雙全+管家婆手機端物聯寶一體化管理平臺是如何來實現的呢?
快消品行業解決方案
01
外勤銷售管理
業務場景:業務員到店簽到后推銷商品實現開單,并記錄門店中商品信息,完成拜訪后離店簽到。
解決方案:在管家婆手機端物聯寶中,通過拜訪客戶、銷售下單、揀貨配送、對賬收款、繳款回單標準化管理流程,讓管理更高效。通過物聯寶,可以按區域科學制定拜訪路線、拜訪地點、拜訪周期、拜訪時間、拜訪人員,提升外勤效率。并且能夠實時跟蹤業務進度,讓成果數據化。
02
開票房核驗
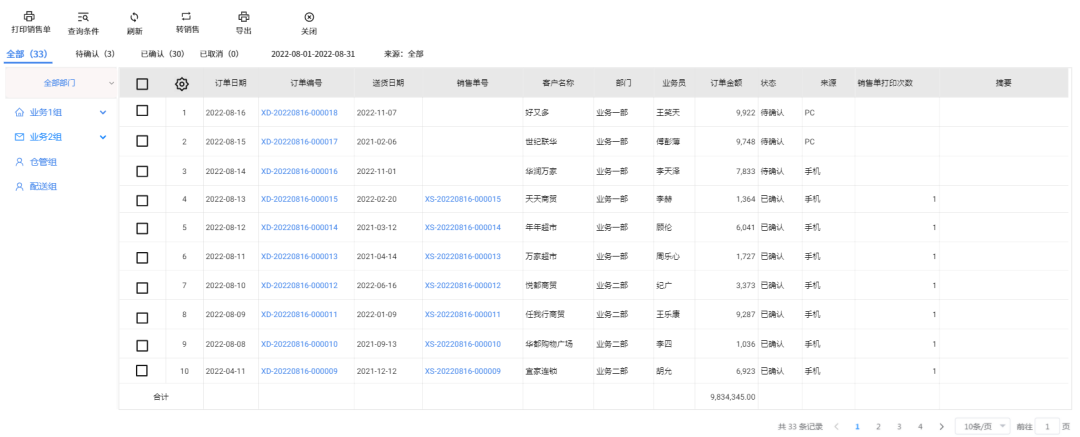
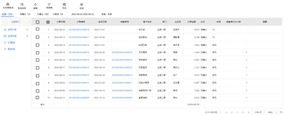
業務場景:業務員銷售下單后,開票房文員查看待確認訂單(審核單據價格是否正確,商品是否能正常發貨)。
解決方案:在管家婆財貿雙全軟件“應用中心-移動管理-物聯寶-訂單確認”中,查看待確認訂單,如圖1所示:

△ 圖1
注:
① 支持訂單種類:PC端訂單、手機端訂單、微訂貨訂單;
② 支持批量打印已經轉的銷售單。
也可以設置銷售基準價,復核業務員核準開單商品價格情況,保證商品不低價銷售。如開單價格小于業務基準價,自動提交主管審核。如圖2所示:

△ 圖2
注:需安裝物聯寶應用插件
03
揀貨出庫
業務場景:倉管員需要根據銷售單揀貨出庫,并打包裝箱,支持粘貼裝箱條碼,做好相關揀貨\復檢登記。
解決方案:單擊“應用中心-移動管理-物聯寶-揀貨出庫”,按單打印裝箱條碼和登記揀貨\復檢人。如圖3、圖4所示:

△ 圖3

△ 圖4
注:按單打印裝箱標簽;裝箱標簽數量根據輔助數量合計,支持修改;記錄打印狀態,支持標簽打印機
04
調度配送
業務場景:倉管員揀貨裝箱后,可以根據路線(地區),訂單貨物多少合理規劃車輛裝載,配車發貨,出車相關登記。
解決方案:單擊“應用中心-移動管理-物聯寶-調度配送”,根據地區合理規劃“送貨員、送貨司機、車輛信息、送貨日期”相關信息的安排及登記。如圖5所示:

△圖5
也可以根據訂單貨物涉及的送貨物品的重量和體積,根據客戶訂單優先級進行指派送貨順序。如圖6所示:

△ 圖6
注:需安裝物聯寶應用插件
05
配送到店和回單登記
業務場景:送貨員或送貨司機根據“調度配送”的出車登記顯示歸屬配送任務,到店配送,核對商品品種|數量,拍照留存客戶簽收情況,并把相關原始單據和貨款交回公司,文員做好相關登記和留存。
解決方案:送貨員或送貨司機在手機管家婆物聯寶中,根據“我的配送”待配送中查詢相關配送任務。如圖7所示:
△圖7
貨物配送后,送貨員或送貨司機在手機管家婆物聯寶中跟客戶核對商品品種|數量并拍照留存客戶簽收情況,如圖8所示:

△ 圖8
注:支持3種簽收方式:全部簽收、部分簽收、全部拒收
文員單擊“應用中心-移動管理-物聯寶-回單登記”把收到當天業務員|司機交回原始單據進行登記和留存,并填寫收到的金額。如圖9所示:

△ 圖9
06
員工交賬
業務場景:司機帶上源單去配送,在客戶簽收時同時收取貨款,之后在帶回源單和貨款上交公司;業務員對歷史的欠單收取欠款、帶回貨款上交。
解決方案:
司機在手機物聯寶中配送端確認簽收,并在源單上備注收款情況,司機帶著源單和貨款回公司上交文員或出納。
文員或出納單擊“應用中心-移動管理-物聯寶-員工交賬”,錄入交賬單號及金額進行交賬確認,“確認交賬”,自動批量生成“收款單”,可查看對應的結算詳情。如圖10所示:

△圖10
通過管家婆手機端物聯寶,我們可以實現從訂單下達到配送到店的全業務進度跟蹤,及時通知各環節業務負責人;全方位多角度統計業務外勤數據,提供拜訪業務軌跡查詢、外勤匯總|明顯、外勤照片等查詢;提供商品鋪市分析,客戶銷售對比分析等,幫助用戶更好掌握市場,全方面的解決快消品配送行業的管理應用。

識別二維碼免費試用
免安裝、免注冊



